Работаем по Республике Беларусь
Доставка по Республике Беларусь
Пн-Пт: 9.00 - 19.00 Сб-Вс: 9.00 - 16.00

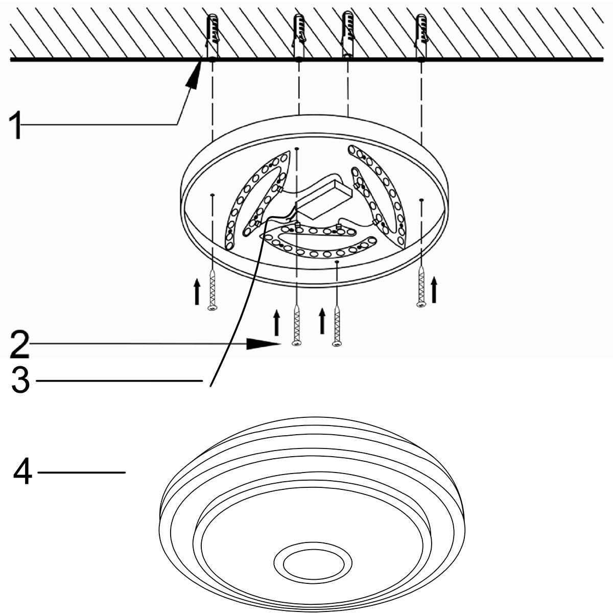
Потолочный светильник Reluce 02098-9.2-60W*2A

local_grocery_store
0
0
0
Каталог
Потолочный светильник Reluce 02098-9.2-60W*2A

Потолочный светильник Reluce 02098-9.2-60W*2A - купить по низкой цене. Описание, характеристики, фото. Выгодная программа лояльности - скидки и бонусы по картам рассрочки, с доставкой на дом по Минску и всей Беларуси.

Подробнее
147 руб.
Под заказ
Нашли дешевле?
Бренд Reluce
Цвет арматуры Белый
Цвет плафонов Белый
Место установки На потолок
Пульт ДУ Да
Стиль Современный
Форма рассеивателя Круглый
Интерьер Для спальни
Наличие диммера Да
Страна производства КИТАЙ
Страна ИТАЛИЯ
Цветовая температура, K 2800-7000K
Вес 2,2
Ширина (упаковки), см 54
Длина (упаковки), см 54
Высота (упаковки), см 12,4
Цвет Белый
Направление плафонов Вниз
Производитель Reluce
Страна бренда ИТАЛИЯ
Высота, мм 110
Длина, мм 500
Ширина, мм 500
Мощность лампы, W 120
Общая мощность, W 120
Площадь освещения, м2 22
Тип цоколя LED
Световой поток, lm 10800
Цветовая температура 2800-7000K
Напряжение, V 220
Виды материалов Металлические
Материал арматуры Металл
Материал плафонов Пластик
Тип управления пульт ДУ

Пожалуйста, авторизируйтесь для того чтобы оставлять комментарии

Вы можете задать любой интересующий вас вопрос по товару или работе магазина.

Наши квалифицированные специалисты обязательно вам помогут.

Задать вопрос

Вопрос *
Ваше имя *
Контактный телефон *
Ваш E-mail

Вы просматривали

Подвесная люстра Arte Lamp Eliza A1009SP-6CC 422 руб.
Загружаем товары...